Building of CU8DUB 4m Beacon.
This beacon project has been realize during co-operation between CT1HZE and OZ2M
The Goal is to ship beacon in May 2006
burn-in test call OZ1P/B 1st of April 70.060 MHz 3elm QTF 240.
CU8AO will install beacon.
Beacon builder/modification OZ1DJJ
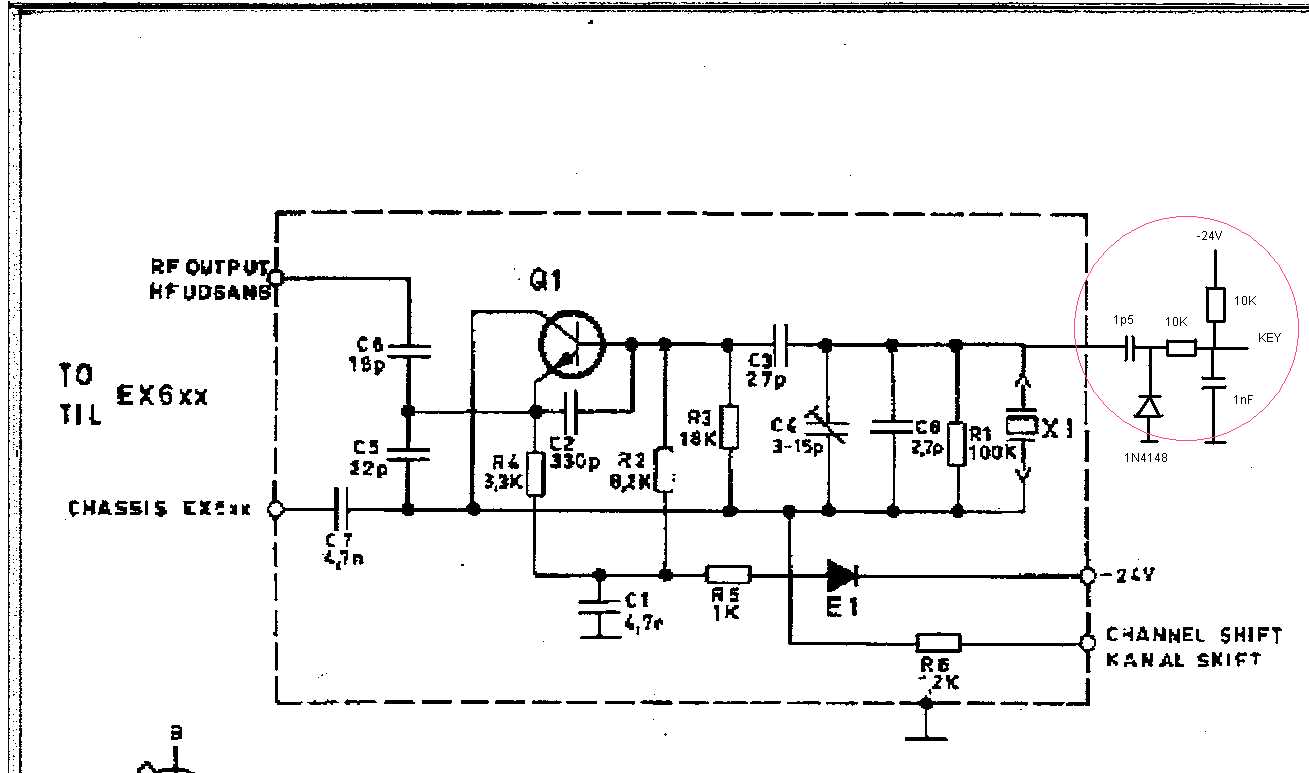
Beacon Keyer design OZ2M
Beacon is based on a old 4m Storno CQF632
from PA who OZ2M got in Weinheim (
Made in
Denmark, built to last)

QRG: 70612, Call: CU8DUB Locator: HM49KL, 200hz FSK keying 25W/?Dipole?
BEACON IS READY
CU8DUB/b is send to CU8AO 22 May-2006
CU8DUB/b ON AIR!!!!!!!!!!!!!!! 03June-2006
several 4m QSO's already done with CU8AO listen to audio here
LISTEN TO BEACON from test site in OZ
Listen to CU8DUB rec. by PA5DD
Listen to CU8DUB rec. by SV2DCD QRB >4300Km
After 14 days of operation, spot on 4m beacon from DX cluster
CT1FFU 70612.0 CU8DUB in and out best 559 1348 03 Jun 2006 CT1FFU 70612.0 CU8DUB/B 599 & CU3URA also 50013 0004 13 Jun 2006 G4FUF 70612.1 CU8DUB/B JO01GN(ES>HM49KL peaking 579 1237 13 Jun 2006 CT1FFU 70612.0 CU8DUB/B 599 in IM59 Es 1824 13 Jun 2006 G4FUF 70612.1 CU8DUB/B JO01GN(ES>HM49KL 559 1911 13 Jun 2006 PA5DD 70612.0 CU8DUB/B 559 >jo22 1912 13 Jun 2006 DL3YEE 70612.0 CU8DUB hrd 529 in jo42ge 3329km!! 1921 13 Jun 2006 PA5DD 70612.3 CU8DUB/B still in 559 hm49>jo22 Es 1954 13 Jun 2006 DL3YEE 70612.0 CU8DUB here also still 529qsb jo42ge 1956 13 Jun 2006 CT1FFU 70612.0 CU8DUB 559 2035 13 Jun 2006 F6FHP 70612.0 CU8DUB/B 599 in IN94 1927 15 Jun 2006 EI2IP 70612.0 CU8DUB/B 529 in IO53!! Anyone qrv from 1311 17 Jun 2006
Pics last add 20.03.2006: Please be back soon to see more pictures and other technical stuff.
contact: CT1HZE,OZ2M or OZ1DJJ for any comments.